2012年岩土工程师考试基础知识模拟试题:理论力学(单项选择题3)

发布时间:2012-07-25 共1页

理论力学(单项选择题3)
一、单项题的备选项中只有一个最符合题意,错选、多选均不得分。
1.图示两系统均作自由振动,其中图a)系统的周期和图b)系统的周期为下列中的哪一组?




 
正确答案:B 解题思路:提示:首先按弹簧的串、并联计算系统等效的弹簧刚度,然后代入周期的公式
T=2π
 
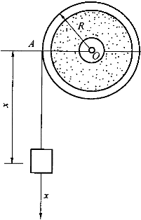
2.半径R=10cm的鼓轮,由挂在其上的重物带动而绕O轴转动,如图所示。重物的运动方程为x=100t(x以m计,t以s计)。则鼓轮的角加速度a的大小和方向是:



 
正确答案:B 解题思路:提示:重物的加速度即是轮缘的切向加速度。
 
3.两个几何尺寸相同、绕线方向不同的绕线轮,在绳的拉动下沿平直固定轨道作纯滚动,设绳端的速度都是v,在图a)、b)两种情况下,轮的角速度及轮心的速度分别用ω与ω表示,则ω与ω的相互关系分别是:




 
正确答案:B 解题思路:提示:轮与地面接触点为瞬心。
 
4.自由质点受力作用而运动时,质点的运动方向是:



 
正确答案:C 解题思路:提示:质点的运动方向应与速度方向一致。
 
5.求解质点动力学问题时,质点的初始条件是用作下列哪个用途的?



 
正确答案:C 解题思路:提示:解微分方程必有积分常数。

百分百考试网 考试宝典

立即免费试用