发布时间:2012-07-25 共1页
| 一、单项题的备选项中只有一个最符合题意,错选、多选均不得分。 |
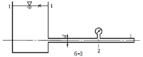
1.如图3所示管路直径d=50mm,当阀门关闭时压力表的如图读数为50kPa,而当阀门后压力表的读数降至20kPa,设水箱表面至压力表的水头损失为3.0v /(2g)。则管中的流量为( )。![]() |
正确答案:B 解题思路:解:设h 为1断面管中的铅垂高度,设h 为2断面管中的铅垂高度,则由静水压强方程可得:h =50/9.8+h![]() 2断面取能量方程,v=v ![]() h =h +p /γ+v /2g+h![]() 4(v /2g)=50-20/9.8=30/9.8v= =3.873m/sQ=Av=π/4×d v=π/4×0.05 ×3.873=7.605×10[]~-3.gif[m /s=7.605l/s故正确答案选B。 |
|
|
2.如图2所示在封闭水箱中,水深H=2.5m的点A上安装一压力表,压力表中心点的读数为9.8kPa,压力表中心点到A点的水深h=0.5m,则水面的绝对压强为( )。![]() |
| 正确答案:B 解题思路:解:应用静水压强基本方程对A点有 p+γh=p +γHp =γh+p-γH=9.8×0.5+9.9.8×2.5=-9.8kPap′ =p +p =99.8=88.2kPa故正确答案选B。 |
|
|
3.消防喷头入口直径为50mm,出口直径为16mm,水平放置入口中心点压力设为200kPa,不计水头损失,则流体反冲力最佳结果为( )kN。![]() |
| 正确答案:B 解题思路:解:应用能量方程和连续方程有 v /v =A /A =(d /d )=(16/50) =0.1024p /λ+α v /2g=α v /2g取:a =a =1联立求解可得v =20.1m/s,v =2.06m/sP =π/4×0.05 ×200=0.393kN应用动量方程 R=P -ρQ(v -v )=0.391×π/4×0.05 ×(20.2.06)=0.357kN=357N故正确答案选B。 |
|
|
4.如图4所示矩形闸板AB,宽度b=2m,长度L=3m,垂直放置A点上水面1m,求静水压力大小为( )kN。![]() |
| 正确答案:B 解题思路:解 P=1/2(γ+4γ)Lb=1/2×9.8×5×3×2=147kN 故正确答案选B。 |
|
|
| 5.在仅受重力作用的静止流体中,单位质量力在z轴铅直向上的直角坐标系中,三个轴向分力分别为: |
| 正确答案:A 解题思路:提示:重力铅直向下,在x轴、y轴无分力。 |